閉式泡沫-水噴淋裝置是一種滅火效能高,應用范圍廣的固定式滅火設備。適用于可安裝水噴淋保護系統(tǒng)的有可燃液體存在的建筑物和構筑物內,如危險品倉庫、車庫、飛機庫、停車場、化工廠、鍋爐房、石化企業(yè)、冶金企業(yè)等,另外,對常見物質的A類火災,以及橡膠、塑料、合成纖維等物質的火災也有很好的撲滅效果。
基本結構
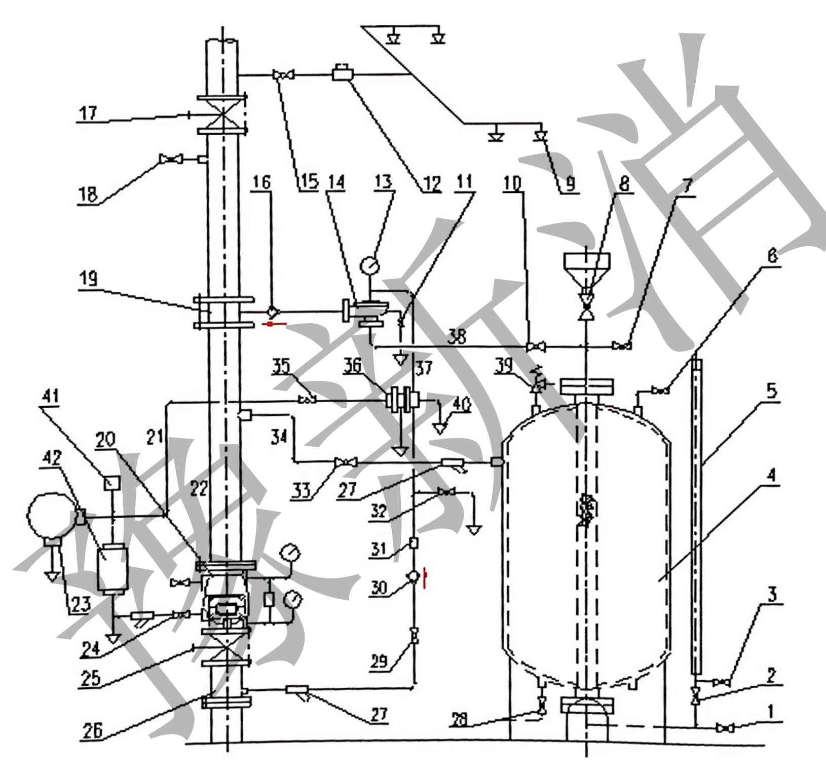
本裝置主要由泡沫液貯罐、泡沫比例混合器、壓力泄放閥、泡沫液控制閥、濕式報警閥和管道及配套組成。
工作原理
本裝置主要由泡沫液貯罐、泡沫比例混合器、壓力泄放閥、泡沫液控制閥、濕式報警閥和管道及配套組成。
系統(tǒng)保護區(qū)域內的環(huán)境溫度由于火災而升高,達到閉式灑水噴頭【9】動作溫度而使噴頭開啟噴水,水流指示器【12】動作,濕式報警閥【20】開啟,壓力水通過報警截止閥【24】,經延遲器【42】,進入報警泄壓管道【21】,水力警鈴【23】開始報警,壓力開關【41】動作,啟動消防水泵,向系統(tǒng)管網加壓供水。同時,壓力水經過壓力泄放閥的供水閥【35】,打開壓力泄放閥【36】,使控制管路【37】中的壓力水泄壓,泡沫液控制閥【14】自動開啟。帶膠囊的泡沫罐【4】由于來自泡沫罐供水管路【34】的壓力水擠壓,使囊內泡沫液控制閥【14】和從主管路【22】進入泡沫比例混合器【19】的水混合,形成泡沫混合液,經由開啟的灑水噴頭【9】噴出,進行滅火。

性能參數

案例展示
請隨時向我們提交您的詢價信息。我們會盡快與您聯系。
售后調試
立即查看
售后調試
售后調試
立即查看
售后調試
售后調試
立即查看
售后調試
售后調試
立即查看
售后調試
售后調試
立即查看
售后調試
售后調試
立即查看
售后調試
售后調試
立即查看
售后調試
衡水清涼店 油庫工程
立即查看
衡水清涼店 油庫工程
板一聯合站
立即查看
板一聯合站
泰新梅蘭新材料有限公司
立即查看
泰新梅蘭新材料有限公司
濮陽永金化工有限公司
立即查看
濮陽永金化工有限公司
昆侖能源
立即查看
昆侖能源
在線訂購
請隨時向我們提交您的詢價信息。我們會盡快與您聯系。


